

BUSCA EN NUESTRA TIENDA POR FABRICANTE, CATEGORIA, NOMBRE PIEZA O REFERENCIA
Filtrar por Categorías
Seleccione la categoría y subcategoría para buscar los productos asociados.
Para seleccionar varias categorías o subcategorías mantenga la tecla "Ctrl" pulsada.
Filtrar por Marca
Seleccione la marca y modelo para buscar los productos asociados.
Para seleccionar varias marcas o modelos mantenga la tecla "Ctrl" pulsada.
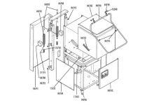
Filtrar por Despiece
Seleccione una marca y un modelo para ver el despiece de dicho modelo.
Silanos n1300

Silanos N1300





